Ausführung und Planung Stufenanlegeleitern
                                                                                                                                            Nach der Handlungsanleitung BGI 694 sollten Stufenanlegeleitern mit Vorrichtungen – z. B. einer Einhakvorrichtung – gegen
Abrutschen gesichert sein, die außerdem gewährleistet, dass die Stufen in Benutzungsstellung der Leiter waagrecht liegen.
Wir empfehlen die serienmäßige Ausführung mit zwei Paar Haken, Ø 30 mm: Oberes Hakenpaar für gesichertes Anlegen, unteres
Hakenpaar für senkrechte Ruhestellung in unbenutztem Zustand. Verwenden Sie dazu Einhängevorrichtungen.
                            
                                                                        
                                        
                                        
                                        
                                                    
             
    
                                                                                                
                                                                        
                                        
                                        
                                        
                                                    
                            Für Leitern ohne Haken finden Sie hier diverse Rundhaken und Flachhaken zur Individuellen Verwendung.
                        
                    Zwischenmaße
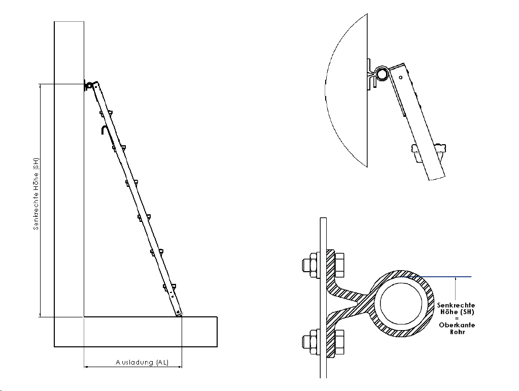
                            Sondermaße sind auf Anfrage machbar. Bitte geben Sie hierzu die benötigte senkrechte Höhe an. Diese ermitteln Sie vom Fußboden bis zur Oberkante Einhängerohr.