Zum Hauptinhalt springen

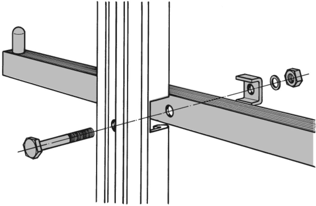
Ersatzsprossen

Material: Aluminium, eloxiert
Verwendung: 6431/6432

Produktinformationen "Ersatzsprossen"

Einfache und schnelle Montage. Befestigungsmaterial aus Edelstahl V4A.