Zubehör für Einholmleitern und Fallschutz aus Aluminium
-
Produkte
-
Mobile Leitern
- Stufenleitern und Sprossenleitern
- Tritte, Standroste, Klappböcke und Arbeitsdielen
- Arbeitsbühnen und Podestleitern
- Branchenlösungen und Sonderkonstruktionen
- Zubehör für Arbeitsbühnen und Podestleitern
- Zubehör für Mobile Leitern
- Zubehör für Regalleitern
- Zubehör für Treppen und Überstiege
- Zubehör für Tritte
-
Ortsfeste Leitern
- Zweiholmleitern und Steigleitern
-
Zubehör für Zweiholmleitern und Steigleitern
- Anschlussbögen und Fußplatten
- Befestigungsmaterial
- Besteigesicherung
- Einstieghilfen und Haltegriffe
- Endanschläge und Befestigungsmaterial
- Fußplatten an Regalanlagen
- Haltegriffe
- Holmbügel, Übersteigteile und Ausstiegsteile
- Plattformen und Standroste
- Podeste
- Rückenschutz
- Standroste
- Türchen und Schranken
- Wandbefestigungen
- Sonstiges Zubehör
- Wandbefestigungen an Regalanlagen
- Kappen
- Einholmleitern und Fallschutzschienen
- Zubehör für Einholmleitern und Fallschutz aus Stahl und VA
- Zubehör für Einholmleitern und Fallschutz aus Aluminium
- Steigeisen
- Sprossenprofile
- Zubehör für Vario-Rail
- Treppen, Überstiege und Laufstege
- Ausstiegsgeländer und freistehende Absturzsicherungen
- Rettungstechnik
- PSA
- Clifter / Steighilfe
- Rohrverbinder
- Bodentreppen
- Gerüste und Arbeitsbühnen
- Ersatzteile
-
Mobile Leitern
- Konfigurator
- Branchen
- Service
- Unternehmen
- Kontakt
- Jobs + Karriere
Filter
–
Arbeits- und Montagepodest
Zum Anklemmen an beliebiger Stelle am Mittelholm.
Erleichtert die Montage von z. B. Standardschellen.
Die Schellen können von 2 Personen gleichzeitig von beiden Seiten in die gewünschte Position gebracht und montiert werden.
Gitterroststandflächen aus Aluminium je ca. 290 x 600 mm.
Grundkörper aus Stahl, feuerverzinkt. Bestehend aus 3 Teilen.
Für Leitertyp 6434/6438
1.143,00 €*
Arbeitspodest
Zum Anklemmen an beliebiger Stelle am Mittelholm.
Montage links, rechts, parallel oder im Winkel zum Bau-werk möglich. Das Podest kann schnell demontiert und an anderer Stelle wieder montiert werden. Bei dünnen Antennenmasten kann es einen Umsteigering ersetzen.
Standfläche aus Gitterrost ca. 300 x 420 mm.
499,00 €*
Befestigung für Eckstiele an Gittermasten
Geeignet für Eckstiele aus Winkelprofilen von 90 x 9 mm bis 180 x 18 mm. Mit spezieller Befestigungsschraube zur Montage an der Leiter. Der Befestigungsbügel kann in Holmrichtung an jeder beliebigen Stelle montiert werden. Eckstielabstand 150 mm.
79,50 €*
Befestigungsbügel
für Maste und ebene Flächen
Mit spezieller Befestigungsschraube für die Befestigung der Leiter. Der Befestigungsbügel kann in Holmrichtung an jeder beliebigen Stelle montiert werden. Anschlusslochung 18 x 70 mm.
Fehlbohrungen von bis zu ±30 mm aus der Lotrechten können ausgeglichen werden.
Befestigungsmittel zum Mast nicht im Lieferumfang enthalten.
52,00 €*
Befestigungsschelle
für runde Masten
Mast-Ø bitte angeben.
Bauwerkabstand 150 mm oder nach Angabe.
Preis auf Anfrage
Bewegliche Endanschläge
Endanschläge müssen am oberen und unteren Ende und an allen Unterbrechungen einer Fallschutzschiene angeordnet werden. Sie verhindern das Herauslaufen des Fallschutzläufers aus der Schiene. Bis 9° Vorwärtsneigung geeignet. Falls die Leiter noch flacher eingebaut wird, muss eine Entnahmeklappe verwendet werden.Verhindern das unbeabsichtigte Herauslaufen des Fallschutzläufers aus der Schiene. Fallen willensunabhängig in Schutzstellung. Endanschläge müssen am oberen und unteren Leiterende sowie an allen Unterbrechungen (auch bei der Montage einer einschwenkbaren Einstieghilfe am oberen Ende der ankommenden Leiter) montiert werden.
31,50 €*
Einklappbare Ruhepodeste
Abstände der Ruhepodeste entsprechend den Anwendungsbereichen und zugeordneten Regelwerken (Normen).Bestehend aus 2 Standflächen in der Größe von jeweils ca. 130 x 300 mm, welche mit dem Fuß bedienungsfreundlich einzeln ein- oder ausgeklappt werden. Im hochgeklappten Zustand mit ausreichendem Freiraum für die Füße.
Inkl. Befestigungsschrauben. Beschlagteile aus Edelstahl.
299,00 €*
Einschwenkbare Einstieghilfen
Für den sicheren Ein- bzw. Ausstieg.
Erfüllt die Forderungen der DIN 18 799: 2019 und der DIN EN ISO 14122-4.
Eingehakt in den Fallschutzläufer rastet der Benutzer das obere Teilstück der Leiter aus und schwenkt es um den am feststehenden Leiterteil angebrachten Drehpunkt. Da er durch den Fallschutzläufer mit dem schwenkbaren Teilstück verbunden ist, muss der Benutzer die Schwenkbewegung mit ausführen und steht danach sicher auf dem zu besteigenden Objekt. Dort klinkt er sich aus dem Fallschutzläufer aus.
Die Anbringung erfolgt am Mittelholm der ankommenden Leiter. Es ist kein Anbohren des Bauwerks erforderlich. Vormontiert.
Trag- und Schwenkkonstruktion aus Stahl, feuerverzinkt.
Schwenkbereich ca. 100˚.
Nutzlänge ca. 1 m.
Der Endanschlag Typ 0643.39.01 für das obere Ende der ankommenden Leiter ist im Lieferumfang enthalten.
Zur bauseitigen Montage.
Zugangssicherungsseil
Beim Verlassen eines Fallschutzsystems aus einer einschwenkbaren Einstiegshilfe kann sich zusätzlich durch ein Zugangssicherungsseil geschützt werden.
Details siehe Katalogteil »Persönliche Schutzausrüstungen«
1.495,00 €*
Entnahmeklappen
Zum unfallsicheren, schnellen und bequemen Einführen bzw. Entnehmen des Fallschutzläufers innerhalb einer Leiteranlage.
Unkomplizierte Ausführung. Zum Entnehmen bzw. Einsetzen des Fallschutzläufers wird nach der Entsperrung eines federbeaufschlagten Sicherheitsbolzens ein Stück Mittelholm um ca. 90° ausgeschwenkt. In dieser Lage und in allen Zwischenpositionen ist die Öffnung für nachfolgende Fallschutzläufer gesperrt. Auch zum bauseitigen nachträglichen Einbau geeignet. Aus Aluminium mit Beschlagteilen aus Edelstahl V4A.
Maß von Standfläche bis Entnahmeklappe ca. 1 m oder nach Angabe.
233,00 €*
Feste Endanschläge
Endanschläge müssen am oberen und unteren Ende und an allen Unterbrechungen einer Fallschutzschiene angeordnet werden. Sie verhindern das Herauslaufen des Fallschutzläufers aus der Schiene. Bis 9° Vorwärtsneigung geeignet. Falls die Leiter noch flacher eingebaut wird, muss eine Entnahmeklappe verwendet werden.Zur Montage am oberen Leiterende, wenn der Fallschutzläufer nicht entnommen werden muss.
14,50 €*
Fuß mit Spitze für Einholm-Leiter Mobil – DBGM
Fuß mit Spitze zum Anbringen an Aufsteckteile.
85,00 €*
Kabelhalter
Zum Anklemmen an den Mittelholm.
Belastung max. 8 kg pro Seite/pro Meter.
Montageabstand der Kabelhalter
0 – 8 m max. 0,88 m, 8 – 20 m max 0,56 m, 20 – 100 m max 0,42 m.
40,00 €*
Klappbare Besteigesicherung
Die klappbare Besteigesicherung wird V-förmig zusammen- und auseinandergeklappt. Sie integriert sich harmonisch in den darüber liegenden Leiterzug. Durch diese Bauart entfällt eine Arretierung des Klappmechanismus während des Besteigens. Sie verhindert die Quetschgefahr im Fußraum am Boden der Leiter.
Der Fallschutzläufer kann an der Entnahmestelle am Leiterfuß des durchgehenden Mittelholms eingefädelt werden. Die Sicherung gegen unbefugtes Auseinanderklappen erfolgt durch ein handelsübliches Vorhängeschloss. Länge ca. 2,80 m.
* Andere Größen auf Anfrage
Preis auf Anfrage
Sicherungstüren
Besonders stabil · Komfortabel in der Handhabung
Die Sicherungstüren bieten einen wirkungsvollen Schutz gegen unbefug- tes Besteigen oder dienen zur Abgrenzung von Gefahrenbereichen.
Besonders stabil und komfortabel in der Handhabung. Mit seitlichem und rückseitigem Einstiegschutz, der unabhängig vom Mastdurchmesser alle Bauteile der Leiter einschließlich der Befestigungsbügel abdeckt. Zur Montage ist kein Anbohren des Bauwerkes erforderlich. Enorme Verwindungssteifigkeit durch »Sandwich«-Bauweise.
Mit stabilen, zweifach sichernden und verdeckt liegenden Verriegelungsgestängen mit Schließzylinder.
Verkleidungsbleche aus Aluminium, eloxiert. Beschlagteile aus Edelstahl. Inkl. Kennzeichnungsschild.
Nutzlänge ca. 2,52 m.
1.340,00 €*
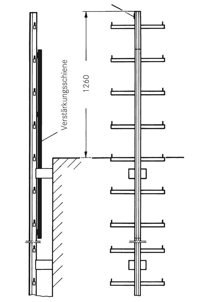
Starre Übersteighilfe
Nach der DIN 18799: 2019 muss das Herstellen bzw. Lösen der Verbindung zum Fallschutzläufer von einem sicheren Standplatz aus erfolgen. Deshalb empfehlen wir bei Leitergrößen > 3 m den Einsatz einer einschwenkbaren Einstieghilfe Typ 0643.67.02 oder Typ 0643.67.03.Zulässig bei Absturzhöhen ≤ 3 m ohne Einsatz eines Fallschutzläufers.
Erfüllt die DIN 18 799: 2019. Als Haltemöglichkeit an der Ein- bzw. Austrittstelle muss die Leiter mind. 1,10 m überstehen. Zur Stabilisierung ist eine Verstärkungsschiene Typ 0643.70 anzubringen.
Verstärkungsschiene für starre Übersteighilfe
245,00 €*
Verstellbare Befestigungsbügel
Wandbefestigungen sind im Abstand von max. 1,68 m anzuordnen, es sind mindestens 2 Befestigungspunkte pro Leiterteil vorzusehen.
Wird der Leiterverbinder 0643.48 mit dem jeweils nächsten Leiterteil verschraubt gilt:
• Leitertyp6434 – die Zwischenteile können mit jeweils nur einer Wandbefestigung montiert werden.
• Leitertyp6438 – die Zwischenteile können im Abstand von max. 2,24 m und/oder nur mit jeweils mit einer Wandbefestigung montiert werden.
Das erste und letzte Leiterteil muss immer mit mindestens 2 Wandbefestigungen montiert werden. Weitere Information siehe MA 5054.
Verstellbare Wandbefestigungen dienen zum Ausgleich von Untergrund-Rücksprüngen. Wenn eine Leiter komplett mit verstellbaren Wandbefestigungen montiert werden soll, ist ein gesonderter statischer Einzelnachweis erforderlich! Ab 500 mm Bauwerksabstand muss die Leiter auf dem Boden aufstehen. (Fußplatte Best.Nr. 0643 1620 00)für Maste und ebene Flächen
Schwenkbar, deshalb besonders für die Befestigung von Etagenbogen geeignet. Für Mast-Ø ≥ 120 mm.
Abstand Bauwerk/Mitte Sprosse einstellbar.
Andere Größen auf Anfrage
145,00 €*
Verstellbare Befestigungsschelle
für runde Masten
Schwenkbar, deshalb besonders für die Befestigung von Etagenbogen geeignet. Mast-Ø und Bauwerkabstand bitte angeben.
Preis auf Anfrage
Weichen
Über die Weiche in Form einer Drehscheibe kann der Benutzer den Fallschutzläufer aus der lotrechten Fallschutzleiter in die waagrechte Fallschutzschiene überführen und umgekehrt. Der Anfrage bitte eine Situationsskizze beifügen. Aus Edelstahl, Lagerbuchse aus Bronze.
Passende Fallschutzläufer der Typenreihen 0529.71, 0529.72 und 0529.74. Waagrecht-Fallschutz siehe 112.
Preis auf Anfrage

Haca Online-Konfigurator
Ihre maßgeschneiderten Steiglösungen & Leitern
Mit unserem benutzerfreundlichen Online-Konfigurator können Sie jetzt Ihre Traumleiter nach Ihren individuellen Bedürfnissen gestalten. Entdecken Sie die Vorteile:
Entdecken Sie die Vorteile:
- Maßgeschneidert für Sie
- Maximale Sicherheit
- Einfache Nutzung
